16일(현지시간) 코인마켓캡에 따르면 가상화폐는 최대 마이너스(-)84%에서 -8%까지 낙폭을 키우고 있다.
시총 10위권 코인은 평균 -20%대 하락세다. 시총 순으로 24시간 전 대비 비트코인 -17.19%, 이더리움 -19.24%, 리플 -25.93%, 비트코인캐시 -24.14%, 카르다노 -21.01%, 라이트코인 -18.51%, NEM -30.10%, 스텔라 -25.39%, 아이오타 -27.37% 떨어지고 있다.
주요 외신은 가상화폐 폭락장을 아시아권의 강도 높은 규제가 이끌고 있다고 분석했다. 미국 CNN 방송은 한국과 중국이 가상화폐 규제책을 언급하며 양 국가가 가상화폐 폭락을 이끌었다고 분석했다.
한국은 지난 13일 박상기 법무부 장관의 '거래소 폐쇄 방침' 발언이 시장 불안을 이끌었다. 하지만 정부가 공식 발표를 통해 "거래소 폐쇄는 가상화폐 규제책 중 한 가지"라고 설명하며 논란이 봉합되는 듯했다. 하지만 전날 김동연닫기
김동연기사 모아보기 경제부총리가 "거래소 폐쇄는 살아 있는 옵션(선택지)"이라고 언급하자 투자자들의 혼란은 가중됐다.중국은 강도 높은 규제를 실행 중이다. 15일(현지시간) 블룸버그에 따르면 증국 당국은 중국 가상화폐 거래소 및 해외 거래소 접속을 차단할 계획이다. 또, 블룸버그는 중국 당국이 가상화폐 거래 시장을 조성하고 결제 및 청산 서비스를 제공하는 이들을 엄정 단속할 예정이라고 전했다.
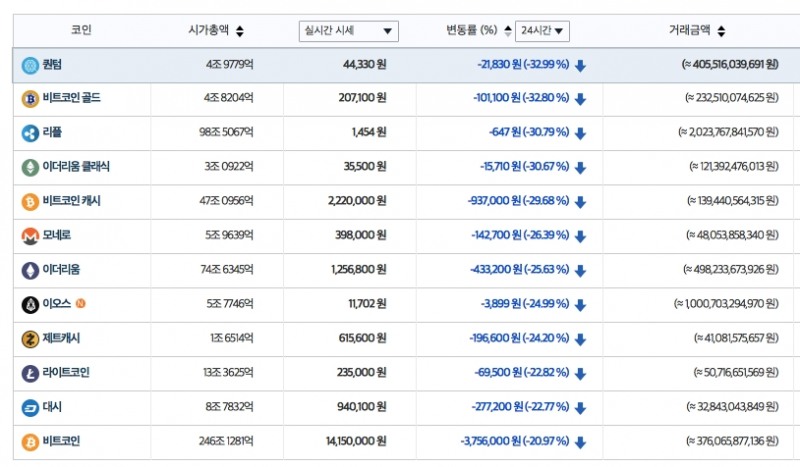
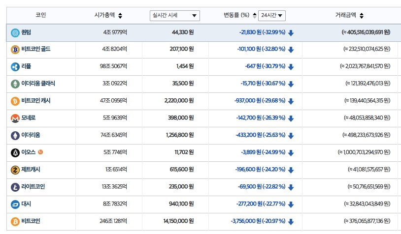
동일 시각 국내 거래소에서는 가상화폐 가격이 -32%에서 -20%대 하락세다. 알트(대체)코인인 퀀텀 -32.99%, 비트코인골드 -32.80%, 리플 -30.79% 순으로 낙폭이 크다. 시총 1위인 비트코인은 -20.97%로 1400만원대에 거래 중이다.
미국 경제 방송 CNBC는 "가상화폐 시장을 장악하고 있는 일본과 한국에서 가상화폐 가치가 며칠 꾸준히 하락했다"며 "한국인과 일본인은 가상화폐당 20% 이상의 프리미엄을 지급하는데 익숙하지만, 그들은 현명해지고 있고 시장이 다시 안정을 되찾기를 기다리고 있는 것으로 보인다"고 보도했다.
구혜린 기자 hrgu@fntimes.com























![코레일-SR 통합시 1.6만석 증가? 팩트체크 해보니…[2025 국감]](https://cfnimage.commutil.kr/phpwas/restmb_setimgmake.php?pp=006&w=69&h=45&m=5&simg=2025092414071708839dd55077bc212411124362.jpg&nmt=18)
![강동구 '올림픽파크포레온' 34평, 4억원 내린 28.5억원에 거래 [이 주의 하락 아파트]](https://cfnimage.commutil.kr/phpwas/restmb_setimgmake.php?pp=006&w=69&h=45&m=5&simg=2025102408533305242e6bc2842862114012193.jpg&nmt=18)

![DB손보 미국 보험사 포테그라 인수 성과에…박기현 해외사업부문 부사장 승진 [금융권 줌人]](https://cfnimage.commutil.kr/phpwas/restmb_setimgmake.php?pp=006&w=69&h=45&m=5&simg=20251023175003012518a55064dd1211217107175.jpg&nmt=18)




![[2025 국감] 정정훈 캠코 사장 "채무탕감 부작용 우려 공감, 개선 노력할 것"](https://cfnimage.commutil.kr/phpwas/restmb_setimgmake.php?pp=006&w=69&h=45&m=5&simg=2025102319035808704b4a7c6999c218152475.jpg&nmt=18)

![[카드뉴스] KT&G, 제조 부문 명장 선발, 기술 리더 중심 본원적 경쟁력 강화](https://cfnimage.commutil.kr/phpwas/restmb_setimgmake.php?pp=006&w=298&h=298&m=1&simg=202509241142445913de68fcbb3512411124362_0.png&nmt=18)
![[카드뉴스] KT&G ‘Global Jr. Committee’, 조직문화 혁신 방안 제언](https://cfnimage.commutil.kr/phpwas/restmb_setimgmake.php?pp=006&w=298&h=298&m=1&simg=202503261121571288de68fcbb3512411124362_0.png&nmt=18)


![[카드뉴스] 국립생태원과 함께 환경보호 활동 강화하는 KT&G](https://cfnimage.commutil.kr/phpwas/restmb_setimgmake.php?pp=006&w=298&h=298&m=1&simg=202403221529138957c1c16452b0175114235199_0.png&nmt=18)
![[카드뉴스] KT&G, 제조 부문 명장 선발, 기술 리더 중심 본원적 경쟁력 강화](https://cfnimage.commutil.kr/phpwas/restmb_setimgmake.php?pp=006&w=89&h=45&m=1&simg=202509241142445913de68fcbb3512411124362_0.png&nmt=18)
![[AD]‘황금연휴에 즐기세요’ 기아, ‘미리 추석 페스타’ 이벤트 실시](https://cfnimage.commutil.kr/phpwas/restmb_setimgmake.php?pp=006&w=89&h=45&m=1&simg=20250903093618029117492587736121166140186.jpg&nmt=18)
![[AD]‘패밀리카 선두 주자’ 기아, ‘The 2026 카니발’ 출시](https://cfnimage.commutil.kr/phpwas/restmb_setimgmake.php?pp=006&w=89&h=45&m=1&simg=2025081810452407346749258773621116810840.jpg&nmt=18)
![[AD] ‘상품성↑가격↓’ 현대차, 2025년형 ‘아이오닉 5’·‘코나 일렉트릭’ 출시](https://cfnimage.commutil.kr/phpwas/restmb_setimgmake.php?pp=006&w=89&h=45&m=1&simg=202505131018360969274925877362115218260.jpg&nmt=18)
![[AD] 현대차 ‘아이오닉9’·기아 ‘EV3’, ‘2025 탑기어 전기차 어워즈’ 수상](https://cfnimage.commutil.kr/phpwas/restmb_setimgmake.php?pp=006&w=89&h=45&m=1&simg=202505091106510520874925877362115218260.jpg&nmt=18)



